KATALOG PRODUKTÓW
NORMA:
din:604
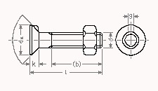
DIN 604 -- Śruba z łbem stożkowym z noskiem z nakrętką sześciokątną
NORMA:
din:604
DIN 604 -- Śruba z łbem stożkowym z noskiem z nakrętką sześciokątną